Noch bevor die E3 in der nächsten Woche startet, kam heute ein neues Patent von Nintendo zutage. Dieses beschreibt das Konzept eines interessanten Stylus, der für den oberen Bildschirm des Nintendo 3DS ausgelegt ist.
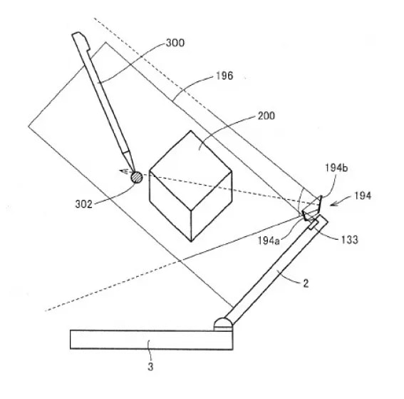
Neuartig an diesem Stylus ist, dass er keinerlei physischen Kontakt zum Nintendo 3DS benötigt. Im dargestellten Programm wird die Position des Eingabestifts anhand der nach innen gerichteten Kamera des Gerätes bestimmt. Dadurch wird es dann ermöglicht, auch die Inhalte des oberen Bildschirms zu manipulieren – selbst ohne direkte Berührung.
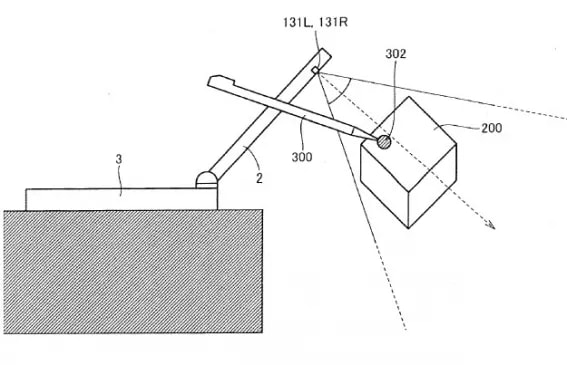
Die innere Kamera erkennt eine Markierung am oberen Ende des Stifts. Dadurch wird die Position im dreidimensionalen Raum sowie die Größe errechnet. Sobald der Stylus nun etwas weiter zum Spieler hinbewegt wird, könnte das Objekt auf dem Bildschirm etwa weiter aus dem 3D-Screen herauskommen.
Diese Technik ist nun allerdings nicht nur darauf beschränkt, Eingaben vor dem Nintendo 3DS zu erkennen. Im Patent wird ebenso gezeigt, dass die hinteren Kameras des Gerätes verwendet werden, um quasi Eingaben hinter dem Rücken des Nintendo 3DS umzusetzen. Angesichts der Augmented Reality-Funktionen des Gerätes wäre diese Eingabemöglichkeit ebenso sehr interessant.
Darüber hinaus beherbergt der Stylus eine weitere Funktion: die Vibration. So erhält der Spieler durch Vibrieren des Stylus eine Rückmeldung auf Aktionen.
Zu diesem Zeitpunkt ist lediglich klar, dass Nintendo an dieser Art von Stylus gearbeitet hat. Ob der Eingabestift jemals in Produktion gehen wird, ist hingegen nicht sicher.

Wie ist eure Meinung zum vorgestellten Stylus? Hättet ihr Interesse an der neuen Art von Eingabe?






-icon-80-80.webp&w=3840&q=90)