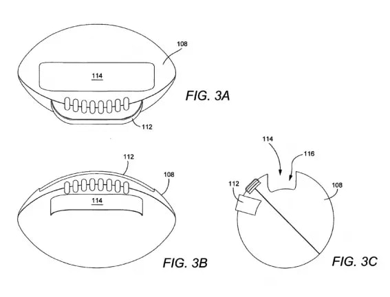
Wie nun aus einer Patentanmeldung hervorging, entwickelt Nintendo eventuell einen Football Controller für Wii. In die unten gezeigte Hülle sollen Wii-Fernbedienung und Nunchuck eingesteckt werden. Die Sensoren beider Controller-Einheiten sollen die Geschwindigkeit als auch den Winkel des Wurfes berechnen können. Auch im Bereich der Defensive, solle es möglich sein mittels entsprechenden Bewegungen seinen Gegenern auszuweichen.
Ob die Steuerungs-Erweiterung tatsächlich jemals entwickelt wird, bleibt bisher fraglich.

Danke an unseren User NGE für den News-Vorschlag
Galerie
Weitere Meldungen
Trending
News
Tomb Raider I-III Remastered: Kostenfreies Upgrade für Switch-2-Besitzer bestätigt
News
Tonies und Pokémon stellen erste Produkte auf der Spielwarenmesse Nürnberg vor
News
Let them cook: Elden Ring: Tarnished Edition kommt in aktuellen Previews gut an
News






-icon-80-80.webp&w=3840&q=90)

