Werbung
Werbefläche

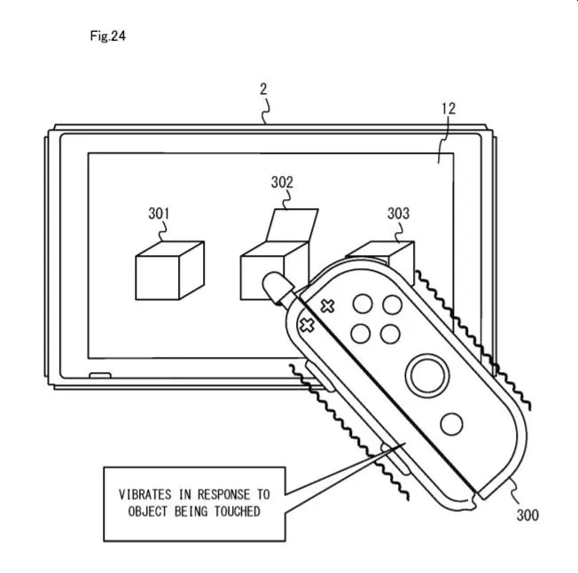
Auch wenn die Joy Con schon so wie sie sind mit einigen einzigartigen Elementen aufwarten können, scheint Nintendo immer noch neue Ideen zu haben. Ein beim amerikanischen Patent- und Markenamt eingereichtes Patent zeigt jetzt, wie man sie noch erweitern kann. Oder besser gesagt: die dazugehörige Handgelenksschlaufe.
Wie man den Skizzen in der Galerie entnehmen kann, werden dann nicht mehr nur Schulterbuttons und die Schlaufe das Zusatzstück zieren. Ein Touchpen am oberen Ende wird es dann ermöglichen, im Handheldmodus den Touchscreen zu bedienen.
Ob es beim Patent bleibt oder der Touchpen tatsächlich bereits für den Verkauf geplant ist, ist nicht bekannt.
Galerie
Weitere Meldungen
Trending
News
Yoshi and the Mysterious Book: Vorbesteller im My Nintendo Store erhalten Boni und Plüsch-Bundles
News
Orbitals zeigt sich im Gameplay-Trailer: Da darf man staunen!
News
Tonies und Pokémon stellen erste Produkte auf der Spielwarenmesse Nürnberg vor
News








