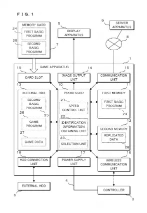
Nintendo hat in Amerika ein Patent für eine Konsole ohne optisches Laufwerk angemeldet. Außerdem wird die Konsole mit einem Controller bedient, der wie das Wii U GamePad einen eigenen Bildschirm hat. Ob das Patent mit Nintendos angekündigter Konsole NX in Verbindung steht, ist nicht bekannt.
Das Patent wurde von einem NeoGAF-User entdeckt. In dem Patent heißt es, das besagte Konsole kein Laufwerk hat. Programme werden stattdessen direkt von der verbauten Festplatte der Konsole gestartet. Sollte das Patent tatsächlich in Verbindung mit Nintendo NX stehen, muss dies noch lange nicht heißen, dass die Konsole tatsächlich ohne Laufwerk veröffentlicht wird. Unternehmen wie Nintendo nutzen derartige Patente häufig, um sich Möglichkeiten offen zuhalten.

Nintendo hatte die NX zum ersten Mal im März erwähnt, aber noch keine Informationen zu der neuen Konsole mitgeteilt. Nintendo NX soll im nächsten Jahr angekündigt und vorgestellt werden.




