Die Arbeiten Nintendos an der Wii U laufen auf Hochtouren und auch wenn die jetzige Konsolengeneration bald nur noch zum alten Eisen gehört, scheint die Traditionsfirma mit der beliebten Wiimote noch einiges vor zu haben.
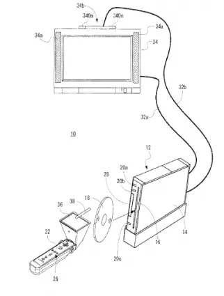
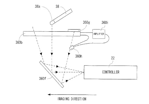
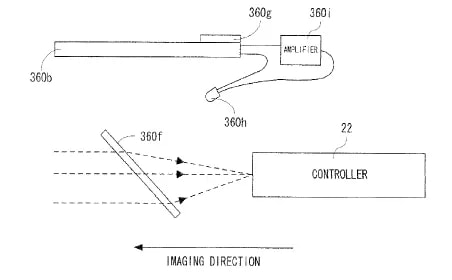
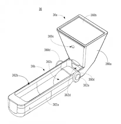
So wurde nun ein Patent eingereicht, welches eine Touchscreen-Erweiterung für das Eingabegerät der Wii zeigt. Diese wird auf die Wiimote aufgeschoben und fungiert fortan als voll funktionaler Touchscreen.
Es ist davon auszugehen, dass Nintendo damit die Kompatibilität zur Wii U herstellen möchte. Gerade für diverse Multiplayer-Spiele könnte diese Erweiterung unabdingbar sein, wenn nur ein Touchscreen-Controller der neuen Konsole verfügbar ist.

Galerie
Weitere Meldungen
Trending
News
Kadokawa bestätigt Switch-2-Pläne für Elden Ring und Duskbloods
News
Die Veröffentlichung naht: Neuer Trailer zu Yoshi and the Mysterious Book
News
Tonies und Pokémon stellen erste Produkte auf der Spielwarenmesse Nürnberg vor
News







